Oheisessa dokumentissa kuvataan kokoonpanojen laadinnan perusteita esimerkkinä SolidWorks.

Lataa alta ilmainen kopio.

Kokoonpanot Pdf

PDF – 543,7 KB 91 latausta

Ohessa lyhyt katsaus valmistusdokumentaatioon.

Lataa ilmainen kopio.

Valmistuspiirustukset Pdf

PDF – 812,8 KB 82 latausta

Kokoonpanoharjoituksia

Mallinna oheiset hitsauskokoonpanot.


 

 

 

 

 

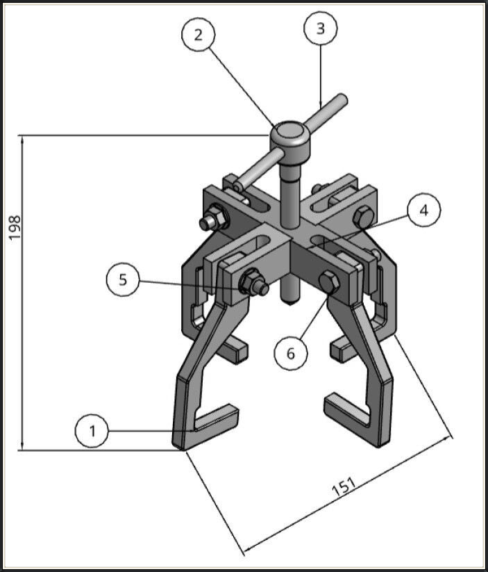
Tästä voit ladata ulosvetimen piirustukset, jos haluat harjoitella kokoonpanon ja osien sekä piirustusten tekemistä.

Ulosvedin Pdf

PDF – 781,8 KB 80 latausta

 

 

 

 

Jos haluat testata itsenäistä työskentelyä, tee oheisen piirustuspaketin mukainen suoritus.

Harjoitus Mitta Pdf

PDF – 448,5 KB 79 latausta

 

 

Oheisessa kuvassa on kokoonpano, jollainen sinun tulisi toteuttaa hyödyntäen mahdollisimman runsaasti standardikomponentteja. Samalla voit harjoitella varsinaista suunnittelijan työtä valitsemalla itse kaikki mitat ja toleranssit. Tarkoitus on myös harjoitella ohutleyjen mallinnusta yksinkertaisella kappaleella. 

Laadi myös valmistus-, hitsaus- ja kokoonpanopiirustukset.


 

 

 

 

 

Oheisessa kuvassa näet luonnoksen laitteesta, jollainen Sinun tulee toteuttaa siten, että se toimii halutulla tavalla. Tee mallit osista ja kokoonpanoista valitsemalla mitat siten, että osat sopivat yhteen ja että tuote toimii vipua kääntämällä.

Tee myös tarvittaessa osakokoonpanoja.

Tee valmistus- ja kokoonpanopiirustukset. 

Lisää kommentti

Kommentit

Ei vielä kommentteja.